Cosa stai cercando?
Cerca

Ferrari: le prossime Spider saranno a 4 posti

Di Tommaso Giacomelli
Pubblicato il 2 feb 2023
Ferrari: le prossime Spider saranno a 4 posti
Carbuzz ha rivelato che la Ferrari ha depositato due brevetti differenti per le sue cabriolet del domani, a quattro posti e non solo.

Ferrari anche si sta concentrando su altri progetti, nuovi segmenti e quant’altro, non dimentica la tradizione fatta di spider e cabriolet. CarBuzz ha trovato due nuove idee registrate da Ferrari all’USPTO, l’ufficio brevetti degli Stati Uniti. Il primo breve riguarda la possibilità di trasformare una vettura decappottabile da quattro a due posti in modo rapidissimo. Una soluzione all’apparenza strana, ma su cui il Cavallino sta evidentemente puntando.

Come funziona

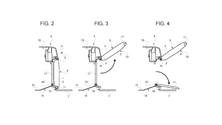
Per capire il funzionamento è possibile osservare i disegni tecnici e verificare la descrizione dell’Ufficio. Ferrari, praticamente, ha messo da parte il classico deflettore delle cabrio ( ingombrante e poco funzionale da montare o lasciare nel bagagliaio) usando gli stessi sedili posteriori come componente aerodinamica. Le sedute possono “chiudersi” quando non sono sfruttate tramite un meccanismo di lacci e attuatori. Una volta richiuse, le poltrone sono inclinate verso i sedili anteriori e formano una superficie tendenzialmente piatta che riduce al minimo la resistenza aerodinamica, oltre a dare alla Ferrari un aspetto molto differente.

I vantaggi del brevetto Ferrari

I vantaggi di questa configurazione sarebbero molteplici. In primis relativamente al peso, visto che l’intera struttura non ha bisogno di un deflettore. Poi, l’idea di Maranello permetterebbe di migliorare l’efficienza aerodinamica riducendo i flussi e la rumorosità del vento.

Un secondo brevetto

Ferrari ha registrato anche un secondo brevetto. In questo caso viene evidenziato un meccanismo che è in grado di caricare degli oggetti di grandi dimensioni nell’abitacolo quando si viaggia col tetto aperto e il deflettore in posizione. Osservando i disegni si può immaginare che gli oggetti siano coperti dal deflettore stesso e dalla parte centrale dei sedili posteriori, anche se nella pratica questa può risultare un’azione difficoltosa. Il fatto che Ferrari abbia registrato i brevetti non significa che vedremo queste soluzioni su un modello di serie. In ogni caso, potremmo pensare di vederle in un giorno nelle sostitute di Portofino M e SF90 Spider.

Seguici anche sui canali social
Seguici su TikTok @motori_it
Seguici su TikTok
Motori_it
Seguici su X

Ti potrebbe interessare