Cosa stai cercando?
Cerca

Il nuovo brevetto di Stellantis potrebbe cambiare il futuro delle auto elettriche

Di Simone Fiderlisi
Pubblicato il 6 feb 2025
Il nuovo brevetto di Stellantis potrebbe cambiare il futuro delle auto elettriche
Stellantis rivoluziona la sicurezza delle auto elettriche con un sistema di scarico per gestire i rischi di fuga termica delle batterie.

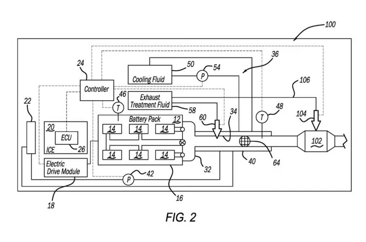
La sicurezza delle auto elettriche è al centro delle innovazioni di Stellantis, che propone una soluzione tanto sorprendente quanto innovativa: un sistema di scarico integrato nelle batterie. Sebbene il termine richiami i veicoli tradizionali, in questo caso si tratta di un’idea completamente nuova, progettata per gestire il rischio di fuga termica delle batterie agli ioni di litio.

Il brevetto, depositato presso l’Ufficio Brevetti statunitense, prevede un sistema che convoglia in modo sicuro i gas pericolosi generati durante malfunzionamenti come cortocircuiti o sovraccarichi. Questi eventi possono liberare sostanze altamente infiammabili, tra cui metano ed etilene, aumentando il rischio di incendi o esplosioni. Stellantis ha progettato un processo che non si limita a espellere i gas, ma li neutralizza chimicamente prima del rilascio, garantendo così maggiore sicurezza per l’ambiente e per gli utenti.

Nonostante i moderni sistemi di gestione termica, il rischio di fuga termica non può essere completamente eliminato. Questa tecnologia potrebbe quindi diventare un nuovo standard per l’industria, contribuendo a rendere le batterie delle auto elettriche più sicure e affidabili. In un settore in continua evoluzione, con innovazioni come la ricarica bidirezionale e soluzioni di gestione energetica avanzate, l’idea di Stellantis rappresenta un importante passo avanti verso un futuro della mobilità più sicuro e sostenibile.

Seguici anche sui canali social
Seguici su TikTok @motori_it
Seguici su TikTok
Motori_it
Seguici su X

Ti potrebbe interessare